2.4. Применение микрочастиц для исследования структуры вещества
Использование микрочастиц дает новый, очень мощный метод исследования структуры вещества. Впервые наиболее ярко это было продемонстрировано в 1911 г английским физиком Э. Резерфордом с сотрудниками в опытах по рассеянию  -частиц. Изучение рассеяния  -частиц в тонкой металлической фольге позволило Резерфорду сделать вывод о распределении электрического заряда в атоме и прийти к ядерной (планетарной) модели атома.
Следует отметить, что хотя в исследованиях Резерфорда использовались  частицы, условия опыта были таковы, что волновые свойства частиц оказывались несущественными, и рассеяние  - частиц на ядрах можно было рассматривать в рамках классической физики. В данном параграфе основное внимание уделяется рассмотрению тех экспериментальных возможностей в исследовании структуры вещества с помощью микрочастиц, в которых волновые свойства частиц играют определяющую роль.
Подобно тому, как первые опыты по дифракции рентгеновских лучей на кристаллах, выявившие периодичность в расположении атомов в кристалле, привели к созданию нового метода исследования структуры твердых тел - рентгенографии, первые опыты по дифракции электронов и нейтронов на кристаллах положили начало новым методам изучения структуры вещества. Метод исследования структуры вещества, основанный на дифракции электронов, получил название электронографии, а метод, использующий дифракцию нейтронов - нейтронографии.
В настоящее время электронография широко применяется для изучения структуры кристаллов, аморфных тел, жидкостей, а также молекул газов и паров. В силу того, что электроны сильно поглощаются веществом, этим методом можно исследовать структуру только достаточно тонких кристаллов и кристаллических пленок. А использование в опыте низкоэнергичных, так называемых медленных электронов, которые проникают в кристалл на очень малую глубину, позволяет получать информацию об очень тонком приповерхностном слое кристаллов. Дифракция медленных электронов является в настоящее время одним из наиболее информативных методов исследования поверхности твердых тел, она позволяет изучать перестройку кристаллической структуры на поверхности, явления адсорбции и самые начальные стадии кристаллизации твердых тел. Электронография позволяет также изучать атомную структуру ближнего порядка в аморфных телах, стеклах и жидкостях и, кроме того, структуру молекул газов и характер их тепловых колебаний в широком температурном интервале.
Очень широко применяются в структурных исследованиях нейтронографические методы. Нейтрон не имеет электрического заряда и поэтому, в отличие от электрона, обладает высокой проникающей способностью, что позволяет исследовать свойства вещества во всем объеме. В силу того, что дебройлевская длина волны  медленных (тепловых) нейтронов сравнима по порядку величины с расстояниями между атомами в конденсированных средах, дифракция нейтронов позволяет изучать взаимное расположение атомов, т.е. структуру вещества. Поскольку масса нейтрона соизмерима с массой атома, а кинетическая энергия тепловых нейтронов сравнима с энергией межатомных взаимодействий в веществе, то это дает возможность по результатам неупругого рассеяния нейтронов изучать динамические свойства атомов и молекул.
Наличие у нейтрона магнитного момента позволяет по результатам дифракционных опытов изучать магнитную структуру твердых тел , т.е. величину магнитных моментов атомов, их взаимное расположение и ориентацию относительно кристаллографических осей. Соответствующий метод структурных исследований получил название магнитной нейтронографии. В настоящее время это единственный прямой метод определения магнитной структуры твердых тел. С его помощью изучена магнитная структура более тысячи магнито-упорядоченных кристаллов.
На рис. 2.19 приведены результаты нейтронографических исследований магнитной структуры кристалла MnO . При комнатной температуре это соединение является парамагнетиком, а при температуре ниже точки Нееля
Т N = 80 K (аналог точки Кюри для ферромагнетиков) переходит в антиферромагнитное состояние, характеризующееся антипараллельным упорядочением магнитных моментов на атомах марганца. Сравнение зависимостей интенсивности дифрагировавшего пучка нейтронов от угла рассеяния, полученных при двух значениях температуры кристалла (выше и ниже точки Нееля) ( рис.2.19a), показывает, что упорядочение магнитных моментов в кристалле приводит к появлению дополнительных дифракционных максимумов. Наличие этих максимумов позволило установить, что период элементарной магнитной ячейки кристалла по всем направлениям оказывается вдвое больше структурного.
Вид упорядочения магнитных моментов на атомах марганца в элементарной ячейке кристалла MnO, определенный по результатам нейтронографических исследований, приведен на рис. 2.19b. На рис. 2.19b маленькие черные кружки соответствуют атомам кислорода, большие светлые и серые кружки - атомам марганца. Стрелками указано направление магнитных моментов на атомах марганца. | Рис. 2.19а. Результаты исследования магнитной структуры кристалла MnO с помощью дифракции нейтронов - угловая зависимость интенсивности дифрагировавшего пучка нейтронов при температурах 80 К и 293 К |
| Рис. 2.19б. Результаты исследования магнитной структуры кристалла MnO с помощью дифракции нейтронов - модель антиферромагнитного упорядочения ионов Mn (стрелками указаны направления магнитных моментов) |
Еще одной важной областью исследований, в которых используются волновые свойства микрочастиц, является электронная микроскопия. Напомним, что предел разрешения микроскопа определяется выражением
где  - длина волны излучения,  - показатель преломления среды, в которой находится объект,  - апертурный угол. Величина  характеризует минимальное расстояние между двумя точками, которые в изображении, формируемом с помощью микроскопа, воспринимаются раздельно. В случае волн оптического диапазона  , что составляет величину порядка сотни нанометров.
Использование вместо световых лучей пучков электронов позволяет существенно, в тысячи раз, повысить разрешающую способность микроскопа. Это связано с чрезвычайно малым значением дебройлевской длины волны электронов  . Действительно, для электронов, прошедших ускоряющую разность потенциалов  кВ, длина волны де Бройля, согласно (2.8), составляет  = 0,0122 нм , что на порядок меньше характерных размеров атомов. Однако достигнуть столь высокого разрешения на практике не удается из-за того, что магнитные и электрические линзы, фокусирующие пучки электронов в микроскопе, обладают заметными аберрациями. Тем не менее разрешение современных электронных микроскопов составляет  =  нм , что позволяет наблюдать атомарную и молекулярную структуру исследуемых объектов.
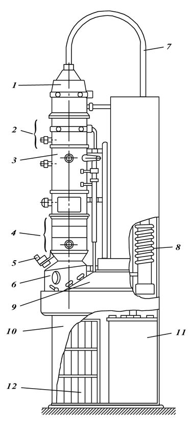
На рис.2.20 представлен общий вид электронного микроскопа просвечивающего типа. Ускоряющее напряжение в электронных микроскопах высокого разрешения составляет 100 - 400 кВ , что позволяет исследовать слой вещества толщиной от одного до нескольких десятков нанометров. В электронно-оптической системе микроскопа создается глубокий вакуум до
 Па. | Рис. 2.20. Электронный микроскоп просвечивающего типа: 1 - электронная пушка с ускорителем; 2 - конденсорные линзы; 3 - объективная линза, 4 - проекционная линза; 5 - световой микроскоп, дополнительно увеличивающий изображение, наблюдаемое на экране, 6 - тубус со смотровыми окнами, через которые можно наблюдать изображение; 7 - высоковольтный кабель; 8 - вакуумная система, 9 - пульт управления; 10 - стенд; 11- высоковольтное питающее устройство; 12 - источник питания линз |
Схема электронно-оптической системы микроскопа приведена на рис. 2.21. Пучок ускоренных электронов фокусируется первым и вторым конденсорами, которые создают на исследуемом объекте электронное пятно малых размеров (от 1 до 20 мкм). Прошедшие через объект электроны с помощью системы проекционных линз формируют изображение объекта на катодолюминесцентном экране. Под экраном находится магазин с фотопластинками, на которые фотографируется получаемое изображение. | Рис. 2.21. Электронно-оптическая схема электронного микроскопа просвечивающего типа: 1 - катод; 2 - фокусирующий цилиндр, 3 - ускоритель электронов; 4 - первый (короткофокусный) конденсор, создающий уменьшенное изображение источника электронов, 5 - второй (длиннофокусный) конденсор, который переносит уменьшенное изображение источника электронов на объект; 6 - объект исследования; 7 - апертурная диафрагма объектива; 8 - объектив; 9, 10, 11 - система проекционных линз; 12 - катодолюминесцентный экран |
Типичный результат исследований, выполненных методами электронной микроскопии, представлен на рис. 2.22. На рис. 2.22а приведен вид структуры сплава золота и марганца, полученный с помощью электронного микроскопа высокого разрешения. На рис. 2.22б представлены результаты исследований изучаемого образца методом дифракции электронов. Структурная модель расположения атомов в сплаве, полученная на основании проведенных исследований, приведена на рис. 2.22в. | Рис. 2.22а. Результаты исследования структуры сплава золота и марганца с помощью электронного микроскопа - вид структурного упорядочения атомов в сплаве; б) картина дифракции электронов на исследуемом образце, в) модель структуры сплава, полученная на основании проведенных исследований |
| Рис. 2.22б. Результаты исследования структуры сплава золота и марганца с помощью электронного микроскопа - картина дифракции электронов на исследуемом образце |
| Рис. 2.22в. Результаты исследования структуры сплава золота и марганца с помощью электронного микроскопа - модель структуры сплава, полученная на основании проведенных исследований |
|